Rapidosound onklaar maken
In de tijd dat Philips radio's maakte vanaf de jaren 30 tot eind jaren
90 bracht Philips wel nieuwe modellen uit. Dit met uitzondering van de
Tweede Wereldoorlog.
De concurrenten zaten immers ook niet stil. Halverwege de jaren 60
werden de buizen vervangen door transistoren. Dit begon al eerder bij
draagbare radio's. De transistor werd steeds beter en werd genoeg voor
de radio in de huiskamer.
Philips is vrij lang doorgegaan met het gebruik van buizen. Philips was
immers ook producent van buizen. Het was goedkoper voor Philips om
radio's met buizen te produceren dan met halfgeleiders.
Halverwege de jaren 50 maakte veel Duitse toestellen al gebruik van
selenium gelijkrichters. Philips gebruikte daarvoor nog steeds de EZ80
of EZ81 of UY85 UY82 bij universeeltoestellen.
Dit geldt overigens alleen voor productie in Nederland. Duitse Philips
hadden ook seleen gelijkrichters.
Het voordeel van een transistorradio is dat deze onnmiddelijk
gebruiksklaar is. Een buizenradio duurt ongeveer 20 seconde voordat
deze gebruiksklaar is.
Philips heeft de radio's in het hoger segment halverwege de jaren 60
uitgerust met rapidosound.
Enkele voorbeelden van de meer luxere radiotoestellen uit die
tijd o.a.
B7X44A, B6X44A, F7X32A B5X34A.

Philips B7X44A

Philips F7X32A

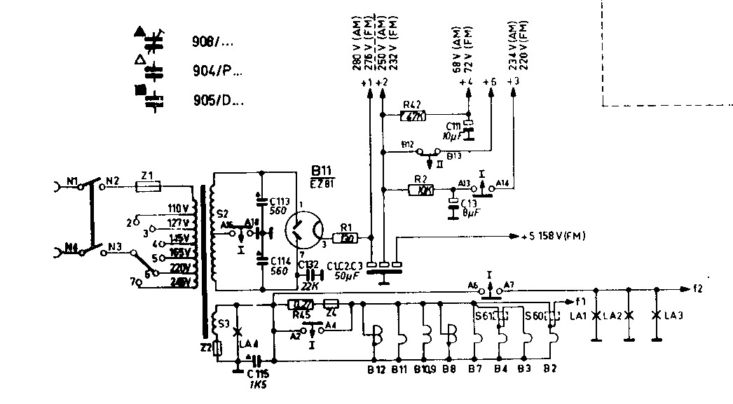
voedingsdeel B7X44A uitgevoerd met rapidosound (voeding is min of
meer identiek bij alle modellen met rapidosound)
De rapidosound onderbreekt de massa verbinding naar de
hoogspanningswikkelingen (S2 contacten A16 en A18), verlaagt de
gloeispanning met serieweerstand R45(S2 contacten A2 en A4) en schakelt
de schaalverlichting uit (S2 contacten A6 en A4).
Hierdoor zijn de buizen eerder op temperatuur. Nadeel van de
rapidosound is dat de buizen wel meer slijten.
Nu is het niet raadzaam om rapidosound in te schakelen door veroudering
van de componenten.
Met het verbreken van de massaverinding loopt de hoogspanning op
omdat deze niet meer
belast wordt. En dit zorgt ervoor dat bij een slechter wordende
isolatie tussen de wikkellingen van de transformator dat deze
doorslaat naar het massascherm.
Direct daarna brandt de thermische zekering van de transformator
door .Het risico bestaat dat de transformator onherstelbaar beschadigd
is.
Onlangs had ik z'n radio ter reparatie. Gelukkig was de transformator
nog te redden door het verwijderen van het de verbinding naar het
aardschem. Deze transformator kwam nog door de isolatietest met de
megger en is bruikbaar. Verder wordt de transformator niet warmer dan
normaal.
Echter ideaal is het niet.
De thermische zekering is vevangen door een traag zekering van 400mA
Om te voorkomen dat dit gebeurt of of nog een keer gebeurt is wel het
advies om de rapidosound schakelaar buiten werking te stellen.

Rapidosound schakelaar onder de drie groene weerstanden voor modificatie

Rapidosound schakelaar onder de drie groene weerstanden voor modificatie
Sluit de weerstand van 0,27 ohm permanent kort en verwijder de rode
draad die naar de massa aansluiting van de hoogspanningswikkeling gaat.
Maak een constante massa aansluiting van de
hoogspanningswikkelingen.
De radio kan nu uitgezet worden met netschakelaar die op de volumeknop
zit. En zo kan men weer genieten van de buizenradio.